400-熱線:400-618-0789
固定電話:0512-66189037
電話咨詢: 18662578275
聯系地址:蘇州市相城區渭塘工業園

微信柜使用說明及操作步驟
1)使用人在使用微信柜時,首次使用需打開微信掃一掃,掃屏幕二維碼碼關注公眾號,關注后進入公眾號內,點擊“存物”菜單(如圖1-1),掃碼選柜。
1-1
2)點擊“存物”按鈕后,掃屏幕二維碼即可進入選箱界面(如圖1-2),選擇箱門號,點擊下一步,根據頁面提示并打開箱門,存入物品后請隨手關門。
1-2
取物時,掃屏幕二維碼進入公眾號內,點擊“取物”按鈕(如圖1-3所示),點擊“取物”按鈕后,將出現如圖1-4所示界面,客戶可以根據需求點擊“中途取物”或者“結束訂單”,點擊“結束訂單”后,箱門打開,請取走所有物品。點擊“中途取物”后,此箱門還屬客戶,客戶還可以繼續存物或者取物。

1-3

1-4
2)整體存取流程如圖(1-5)所示

我們將為客戶提供一個微柜后臺,可以設置收費、管理員、以及查看使用記錄,設置收費的步驟大致分為三步。
設置收費模式
第一步:后臺管理登錄
首先我們在后臺管理登錄界面輸入自己的賬號、密碼登錄進入后臺。
第二步:新建收費模式
1. 選擇左側菜單中“收費模式”功能

2.在窗口選擇“新增模式”

3. 編輯收費模式信息。
1) 我們可以根據自己需求對收費模式命名、設置計費方式(按次收費、計
首期差異收費)等選項進行填寫編輯。
2) 這里我們以按次收費方式為例,設置收費模式參考如下:
2) 當我們編輯好收費模式之后,點擊下方的“提交保存”按鈕
4) 此時我們就可以看到我們剛剛新增的收費模式
第三步、應用收費模式
1. 在左側菜單中選擇“箱柜列表”功能
1. 在箱柜列表可以看到我們當前柜子的狀態,這里我們選擇“箱子列表”
3. 可以看到當前箱門信息,也可以設置默認收費模式、規格等功能
4.繼續以我們剛才設置的收費模式為例,我們選擇 1 號箱,在默認收費模式一
拉菜單,可以看到我們之前設置的收費模式“大箱 001元”,按照此方法可以設置其
收費方式
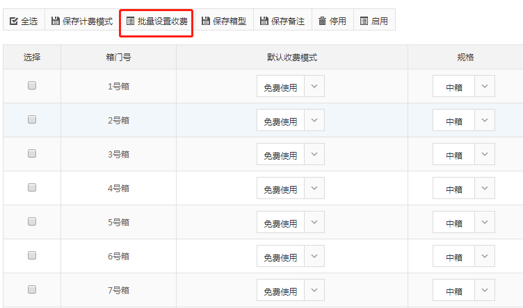
我們也可以批量設置收費:
○1 在上方選擇“批量設置收費”
○2 在彈出窗口選擇收費模式(以“大箱 001”為例),我們選擇收費模式
編號編輯處填寫對應的箱門號(如果設置多個箱門,箱門號中間用逗號隔開
所有箱門,就先寫 ALL)
○3 設置完之后“提交保存”即可(這里我們設置全部箱門收費模式為“大箱001
)
補充說明:
如果需要設置箱型,以及對應得收費模式,我們需要新增其他收費模式(步驟
二步:新建收費模式”)
這里我們以設置的三種收費模式(分別為“大箱 001”、“中箱 001”、“小箱
收費模式設置完成之后進到箱子列表(步驟參考“第三步:應用收費模式”),
表我們可以先設置箱子的規格,當我們設置箱子規格(參考下方圖示例 1)完成后
方“保存箱型”按鈕;然后根據對應的箱型選擇收費模式(可以單獨選擇,也可以
(參考下方圖示例 2);設置成功后選擇上方菜單“保存計費模式”,保存然后退出系
示例 1